扫一扫二维码关注我们
24
小时服务热线
0577-67371288
全国咨询热线:0577-67371288
全国咨询热线:
0577-67371288
|
产品类型
|
零件名称
|
|||||
|
阀体、阀盖、支架
|
阀杆
|
闸板、阀瓣、密封面
|
阀座密封面
|
阀杆螺母
|
填料
|
|
|
碳钢型I
|
WCB
|
1Crl3
或2Crl3
|
Crl3型不锈钢或硬质合金
|
不锈钢
|
铝青铜
|
柔性石墨
|
|
合金钢(I)
|
WC6 Cr5M01
|
38CrMoAlA 20CrlM01VA
|
钴基合金
|
硬质合金
|
||
|
CF8(P)
|
CF8
|
F304
|
CF8或F304
|
不锈钢
|
||
|
产品类别
|
适用温度/℃
|
适用介质
|
|
碳钢型(C)
|
≤425
|
水、蒸汽、油品、非腐蚀性气体
|
|
合金钢(I)
|
≤540
|
|
|
CF8(P)
|
≤200
|
弱腐蚀性介质
|
|
试验压力
|
公称压力
|
|||||
|
1.0
|
1.6
|
2.5
|
4.0
|
6.4
|
10.0
|
|
|
壳体强度试验
|
1.5
|
2.4
|
3.8
|
6.0
|
9.6
|
15.0
|
|
密封试验
|
1.1
|
1.8
|
2.8
|
4.4
|
7.0
|
11.0
|
|
上密封试验
|
1.1
|
1.8
|
2.8
|
4.4
|
7.0
|
11.0
|
|
气密封试验
|
0.5~0.7
|
|||||
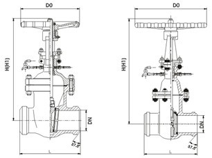
|
公称通径
|
L
|
α
|
H
|
DO
|
PNl.6/MPa
|
PN2.5/MPa
|
||
|
D
|
D1
|
D
|
D1
|
|||||
|
50
|
250
|
37o30'
|
334
|
250
|
58
|
50
|
64
|
4g
|
|
65
|
270
|
37o30'
|
439
|
250
|
75
|
65
|
82
|
67
|
|
80
|
280
|
37o30'
|
495
|
300
|
91
|
79
|
95
|
77
|
|
100
|
300
|
37o30'
|
575
|
350
|
11O
|
97
|
117
|
101
|
|
125
|
325
|
37o30'
|
587
|
350
|
136
|
121
|
144
|
126
|
|
150
|
350
|
37o30'
|
607
|
350
|
163
|
146
|
172
|
158
|
|
200
|
400
|
37o30'
|
740
|
400
|
223
|
202
|
223
|
202
|
|
250
|
450
|
37o30'
|
863
|
400
|
278
|
254
|
278
|
254
|
|
300
|
500
|
37o30'
|
990
|
400
|
330
|
305
|
330
|
305
|
|
350
|
550
|
37o30'
|
1137
|
500
|
382
|
352
|
382
|
352
|
|
400
|
600
|
37o30'
|
1523
|
500
|
432
|
399
|
432
|
39g
|
|
450
|
650
|
37o30'
|
1618
|
600
|
485
|
451
|
485
|
451
|
|
500
|
700
|
37o30'
|
1657
|
600
|
535
|
501
|
535
|
499
|
|
600
|
800
|
37o30'
|
1746
|
700
|
636
|
601
|
636
|
599
|
|
公称通径
|
L
|
D
|
α
|
PN4.0MPa
|
PN6.4/MPa
|
PN10.0MPa
|
||||||
|
D1
|
H
|
D0
|
D1
|
H
|
DO
|
D1
|
H
|
D0
|
||||
|
50
|
250
|
64
|
37o30'
|
49
|
345
|
300
|
50
|
350
|
300
|
49
|
350
|
300
|
|
65
|
270
|
83
|
37o30'
|
67
|
441
|
300
|
66
|
447
|
300
|
64
|
447
|
300
|
|
80
|
280
|
96
|
37o30'
|
79
|
495
|
350
|
77
|
499
|
350
|
75
|
499
|
350
|
|
100
|
300
|
117
|
37o30'
|
101
|
575
|
350
|
99
|
582
|
400
|
87
|
582
|
400
|
|
125
|
325
|
144
|
37o30'
|
126
|
587
|
400
|
129
|
590
|
400
|
125
|
590
|
400
|
|
150
|
350
|
172
|
37o30'
|
152
|
607
|
400
|
150
|
611
|
450
|
145
|
611
|
450
|
|
200
|
400
|
223
|
37o30'
|
200
|
740
|
450
|
198
|
745
|
550
|
190
|
747
|
550
|
|
250
|
450
|
278
|
37o30'
|
252
|
863
|
550
|
246
|
867
|
650
|
236
|
869
|
650
|
|
300
|
500
|
330
|
37o30'
|
302
|
1008
|
650
|
294
|
1008
|
750
|
282
|
1013
|
750
|
|
350
|
550
|
382
|
37o30'
|
350
|
1142
|
750
|
342
|
1148
|
800
|
334
|
1148
|
850
|
|
400
|
650
|
432
|
37o30'
|
397
|
1527
|
850
|
387
|
1531
|
900
|
377
|
1533
|
950
|
DSZ61H焊接水封闸阀示意图: